Изготовление фундаментных болтов на заказ по чертежам

Мы производим фундаментные болты на современных станках по вашим чертежам или эскизам. Гарантируем высокое качество, точное соблюдение сроков, доставка в Екатеринбург.
  • Используем любые материалы и выполняем заказы любой сложности
  • Полный цикл производства: от создания чертежей до доставки готовых изделий
  • Доступные заказы: минимальная сумма заказа — 20 000 рублей, отгрузка от 2 дней
Свяжитесь с нами, чтобы обсудить ваш проект
+7 (812) 642 33 56
Профессиональная консультация
spbzki@yandex.ru
Пришлите чертеж для быстрого расчета
Фундаментные болты

Фундаментные болты, которые можно заказать сейчас

Болт фундаментный ГОСТ 24379.1-80 - фото - 2

Болт фундаментный ГОСТ 24379.1-80

Подробнее
Работая с нами, вы получаете

Крепежная арматура анкерного типа, отличающаяся особой прочностью, способна выдерживать большие статические и динамические нагрузки. Конструкция болта включает шпильку, на одном конце которой располагаются элементы для фиксации со строительным основанием, а на другом — резьба.

Разновидности фундаментных болтов

Существует несколько типов фундаментных болтов, различающихся особенностями конструкции:

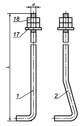
  • Изогнутые фундаментные болты. Имеют геометрию «Г»-образной формы или изгибы на некоторых участках. На одном конце изделия располагаются фиксирующие элементы (гайка и шайба), на другом — изогнутая часть. Разновидности с одним изгибом устанавливаются до заливки основания, с несколькими — фиксируются в специально предназначенные отверстия, которые после заливаются бетонной смесью.

Фундаментные болты изогнутого типа

  • Фундаментные болты с анкерной плитой. Необходимы для прочного соединения конструкций между собой. Плита находится на конце крепёжного элемента и оберегает болт от разрушения во время стягивания. Разновидность с анкерным упором устанавливается до заливки фундамента.

Фундаментные болты с анкерным упором

  • Составные фундаментные болты. Характеризуются разбирающейся конструкцией, состоящей из нескольких деталей. В нижней области располагаются анкерный упор и муфта, которые крепятся в основание в момент его укладки или после заливки в специально высверленные отверстия. Верхняя часть соединяется с нижней с помощью резьбы, после чего дополнительно приваривается для обеспечения надёжного монтажа конструкции.

Фундаментные болты составного типа

  • Прямые фундаментные болты. Имеют прямую конструкцию, состоящую из шпильки с нанесённой резьбой и гайки. Установка болта фундаментного осуществляется после застывания заливки, а фиксируется изделие при помощи клея — силиконового или эпоксидного. Разновидность отличается высокой прочностью, однако не подходит для монтажа в конструкции с высокой вибрацией.

Фундаментные болты прямого типа

  • Съёмные фундаментные болты. Изделие состоит из нескольких частей, а именно: анкерной арматуры, устанавливаемой в фундамент в момент заливки, и шпильки, оборудованной шайбой и гайкой, которая монтируется после завершения фундаментных работ.

Фундаментные болты съемного типа

  • Фундаментные болты с концом конической формы. Разновидности характеризуются окончанием конической формы, и выпускаются в нескольких вариациях: с конической втулкой, с расширенным окончанием и с разжимной цангой. Установка подобных моделей осуществляется в специально изготовленные отверстия.

Фундаментные болты с концом конической формы

 

Типы фундаментных болтов

Тип 1
Болты фундаментные
изогнутые
Тип 2
Болты фундаментные
с анкерной плитой
Вариант 1
М12-М48
Вариант 2
М12-М48
Вариант 1
М16-М48
Вариант 2
М56-М90
Вариант 3
М100-М140

Болты фундаментные ГОСТ 24379.1-80 изогнутые

Болты фундаментные ГОСТ 24379.1-80 с анкерной плитой

Тип 3
Болты фундаментные
составные
Тип 4
Болты фундаментные
съемные
Вариант 1
М24-М48
Вариант 2
М56-М64
Вариант 1
М24-М48
Вариант 2
М56-М125
Вариант 3
М56-М100

Болты фундаментные ГОСТ 24379.1-80 составные

Болты фундаментные ГОСТ 24379.1-80 съемные

Тип 5
Болт фундаментный
прямой
Тип 6
Болты фундаментные
с коническим концом
М12-М48 Вариант 1
М12-М48
Вариант 2
М12-М48
Вариант 3
М12-М48

Болт фундаментный ГОСТ 24379.1-80 прямой

Болты фундаментные ГОСТ 24379.1-80 с коническим концом

 

Условные обозначения:

  • 1-10 — шпилька;
  • 11, 12 — плита анкерная
  • 13 — муфта
  • 14 — анкерная арматура
  • 15 — цанга разжимная
  • 16 — втулка коническая
  • 17 — шайба
  • 18 — гайка по ГОСТ 5915-70
  • 19 — гайка по ГОСТ 10605-72

Материал изготовления

Болты производятся из стали различных марок, причём при выборе материала необходимо учитывать назначение крепёжной арматуры, климатических условий и размера диаметра резьбы:

  • для монтажа строительных конструкций и специального оборудования — Ст3кп;
  • для крепёжных элементов диаметром до 24 мм — Ст3пс и Ст3сп;
  • для болтов до 48 мм — Ст20;
  • для арматуры до 56 мм — 09Г2С;
  • для особых крепежей — 10Г2С1.

Соединительные элементы болтов (гайки и шайбы) могут изготавливаться из марки той же стали, что и само изделие, а могут из стали более высокого класса. Анкерные упоры производятся методом литья или вытачивания из чугуна или стали, устойчивой к образованию коррозии.

Сфера применения фундаментных болтов

Фундаментные болты широко используются в следующих ситуациях:

  • при установке конструкций с внушительной массой и тяжёлого оборудования;
  • фиксации металлических изделий с бетонным основанием;
  • для соединения поворотных конструкций.

Достоинства фундаментных болтов

Крепёжная арматура обладает рядом неоспоримых достоинств:

  • выпускается в разных размерах, благодаря чему можно купить фундаментные болты с учётом индивидуальных инженерных особенностей конструкции;
  • характеризуются несколькими способами монтажа, позволяющими устанавливать изделие во время заливки фундамента или после его полного застывания;
  • обеспечивают эффективное и надёжное соединение монтируемых изделий;
  • обладают высокой прочностью, устойчивостью к внешнему воздействию;
  • при соблюдении технологии монтажа будут безотказно служить в течение длительного периода.

Перед покупкой фундаментных болтов нужно уделить особое внимание некоторым характеристикам:

  • Глубина монтажа соединительной арматуры. Выбирается с учётом требований ГОСТ.
  • Состав и марка бетона, из которого изготавливается фундамент.
  • Длина и толщина изделия. Характеристики напрямую зависят от марки стали, используемой при изготовлении крепёжной арматуры.
  • Конструкция и размер гаек и шайб. Параметры должны соответствовать требованиям ГОСТ 24379.1-80. Не допускается применение элементов неподходящего размера.
  • Форма болтов. Зависит от функции, которые должны выполнять приспособления.

Санкт-Петербургский завод крепежных изделий «СПбЗКИ» предлагает купить фундаментные болты по выгодной цене. Ознакомиться с реализуемой продукцией можно с помощью удобного каталога на сайте. А если возникли вопросы, менеджеры компании ответят на них, помогут выбрать наиболее подходящий вариант крепёжной арматуры, оформят заказ. Сотрудничество с нами — гарантия покупки высококачественной продукции по самой выгодной стоимости.

Фотогалерея
Санкт-Петербургский Завод крепежных изделий © 2025г. Все права защищены
Адрес
СПб, г. Колпино, б-р Трудящихся, дом 2, лит. А., пом. 13-Н, офис 1
Яндекс.Метрика